•  きっかけ2、昔はあった?

  •  金属地丸出しのままにドアストライカーを装飾する方法の一つに、研磨してメッキという方法があります。
     事実、従来はアルピナの上級クラスは全てのドアストライカーがピカピカに研磨されていましたが、標準のBMW車では7シリーズといえども研磨されていません※※。
     つまりドアストライカーを磨くという行為は、アルピナのような車造りをするレベルになってやっと施される手の掛かる処理という事です。
     もしここでBMWが全車、研磨されていたとするならまさに「輝きを見せるためにカバーをしない」という理由と思われますが、最上級であるはずの7シリーズの例からもそうとは言えないようです。

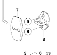
    E53X5パーツリストより もう一つ、調べていくうちに実は過去にE53X5というモデルでカバーが存在していた※ことが判りました(画像はパーツリストのものです)。
     「ロックストライカーカバー」という名称で、$2.65、だいたい¥200くらいといった価格からはプラスチック製だろうことが想像できます。しかしこうしたカバーはこれ以降のモデルでは採用されていません。

     さらにニコルのショールームを訪れた際に確認してみると、最近のモデル(B3Sでした)はアルピナといえども、ストライカーの研磨は行なわれなくなってしまったようです。

     BMWでも一度はカバーをしたことがあるがやめた、また最近ではアルピナですら磨かなくなってしまった※※…これらの意味するところは、素直に考えれば「コストダウンのため」以外にはありません。

     いかにBMWグループといえどもコストを無視した物づくりはできません。機能に関係ないところから省いていく、という視点からは、こうした普段はあまり目に付かない部分は真っ先にその対象となる可能性は高いでしょう(逆に常に視界に入り続ける範囲ではある程度の装飾性を認めているはずです)。

     もしこの推論が正しければ、自分がこの部分の装飾系部品を作ろうと思ったことは、特にBMWの考え方にそぐわないものではないはずです。彼らも決して「不要」とは思っていないでしょう、なぜなら過去にはそうした部品が存在していた時期があるのですから。
     むしろ、自分が作ることで「今の彼らでは省かざるを得ないことをもしかして補完できる」なら、BMWに関わった者として喜ばしいことではないでしょうか。

     もちろん勝手な想像を多分に含んでいますので、ナニおこがましいこと言ってんだというお叱りは当然でありますが、真実かどうかはこの際関係ありません、 ここで重要なのはやはり「動機付け」です(笑)。

     こうして、とにかくストライカーカバーを作ってみよう、という気持ちは固まったのでした。

    ※2010/12/29追記
     E46、E53のモデルのみカバーが存在していたようです。続く型式ではストライカーの見映えを少し良くする代わりにカバーを省いたらしく、コストダウンそのものと思われます。そうは言ってもネジが丸見えなのは、やはりどうなんでしょうか…。

    ※2011.01.08追記E36ドアストライカー画像
     その後の調査で、各シリーズでストライカーが「磨かれていたり、磨かれていなかったり」する場合があることが判りました。ロットや製造工場によって(?)処理が異なっている可能性が浮上しています。

    ※2011.01.15追記
     提供いただいたE36のストライカー画像(右)。この世代は構造自体が現在のものとは異なっています。ネジが露出しているのは同じですが地が黒なので目に付きにくいかもしれません。


        • 前へ< HPトップへ  >次へ

    Copyright (C) 2010-2014 kochigi.net all rights reserved.